|
 Product Links 
|
|

Inside SRI

|
| SRI-Newsletter |
 |
Subscribe to our newsletter to receive monthly specials, manufacturer's feature, and electronics news via email. |
|
|
|
See Our latest release of SRI-Newsletter here
|
|
View Our List of Archived Newsletter Articles
|
|

SRI Links

|
|
Visit our Sister Site,
 Distributor of Industrial Products
| |
|
Web Search .. Powered by;
|
|
 |
 |
|
 |
 |
R54 Series
Heavy Duty 30 Amp, SPST-NO-DM AC & DC Relays for Small Motor Controls, Industrial Controls
 |
Features
Industry standard packageQuick connect and/or solder terminals6-32 thd mounting hole + locating pinLong life hinge pin armature
|

Electrical Characteristics
Contact
Contact Rating: 30 Amps up to 300VAC or 28VDC resistive load, 5 Amps at 600VAC resistive. 1 HP at 120 thru 600VAC motor load. 10 Amps at 120VAC tungsten load.
Contact Material: Silver cadmium oxide, gold flashed 1/4" dia.
Coil
Coil Voltages: See Chart
Resistance: DC coil resistance to 40,000 ohms
Operational Characteristics
Timing Values:
Operate Time: 18mS Max
Release Time: 30mS Max
Insulation Characteristics
Dielectric Strength:
Between Open Contacts: 1000VAC RMS
Between All Other Mutally Insulated Conductive Materials: 3000VAC RMS
Environmental Characteristics
Operating:
-30°C to +50°C (AC) -30°C to +65°C (DC)
Weight
Std: 3 ozs. (85 grams)
Back to Top

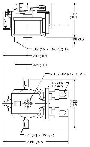
Dimensional Drawings
D25
Back to Top

Part Numbers
| AC OPERATED |
| NTE Type No. |
Nom. Voltage |
Contact Arr. |
Coil Res. Ohms (Typ) |
Nom. Power |
Max. Contact Cur. @ 28VDC or 120VAC |
Diag. No. |
| R54-3A30-24 |
24VAC |
SPST-NO DM |
- |
3VA |
30A |
D25 |
| R54-3A30-120 |
120VAC |
SPST-NO DM |
- |
3VA |
30A |
D25 |
| R54-3A30-240 |
240VAC |
SPST-NO DM |
- |
3VA |
30A |
D25 |
| DC OPERATED |
| R54-3D30-12 |
12VDC |
SPST-NO DM |
100 |
1.5W |
30A |
D25 |
| R54-3D30-24 |
24VDC |
SPST-NO DM |
400 |
1.5W |
30A |
D25 |
| R54-3D30-110 |
110VDC |
SPST-NO DM |
8000 |
1.5W |
30A |
D25 |
Back to Top
|
**Specifications subject to changes**
[Go to Search] [Back]
|
|
|
|