Tuesday, April 21, 2026     
     Serving the Electronic Industries for Over 33 Years
Meltric interconnect Multi-pins connectors plugs and receptacles logo
Catamount Cable Ties & Accessories logo
Velleman metter and eletronic kits logo
Dantona Recharable batteries Logo
     Electronic Components Distributor Logo                        
 Home
  |  View Account   |    Engineer's Corner    |  Contact Us  |  Cross Reference  |  Line Card  |  0 Item
Part Search
NTE Cross Ref. Search
Login
SRI Live Chat Help
call us email us contact us

Product Links

Inside SRI

About SRI
Contact Us
Careers
Link to Us!
Feedback

SRI-Newsletter
Subscribe to our newsletter to receive monthly specials, manufacturer's feature, and electronics news via email.

See Our latest release of SRI-Newsletter here

View Our List of Archived Newsletter Articles


SRI Links

Visit our Sister Site,

Distributor of

Industrial Products

  Web Search ..
  Powered by;


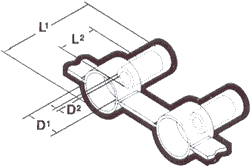
 Nichifu Insulated Chain    Closed-End Connectors

Nichifu Closed-End Connectors     photo Nichifu Closed-End Connectors     Lineart

Click on the Part Number for more details or to purchase.

Wire RangeL1L2D1D2UL/CSA ListedMaterial

ICCE-5

12-10
1.102
0.283
0.362
0.154
Yes
  
Copper

ICCE-2

16-14
0.866
0.272
0.323
0.13
Yes
  
Copper

ICCE-1

22-16
0.827
0.244
0.264
0.094
Yes
  
Copper